3,297.00 ₽
Стальные тройники и угольники для гидравлики и пневматических трубопроводов Ду 6, Ду 8, Ду 10, Ду 12 с резьбой G 1/8, G1/4, G3/8, G 1/16/ под сварку по наружному диаметру. Рабочее давление от 1,6 МПа до 8,0 МПа. Возможно изготовление с различными резьбовыми соединениями К, НКТ, R, М.
Описание
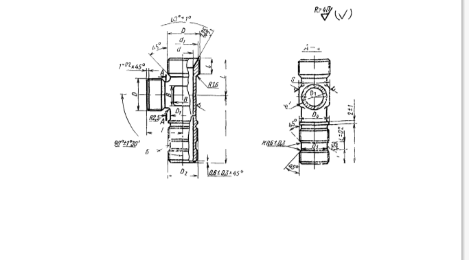
ТРОЙНИКИ ВВЕРТНЫЕ НЕСИММЕТРИЧНЫЕ ДЛЯ СОЕДИНЕНИЙ ТРУБОПРОВОДОВ ПО ВНУТРЕННЕМУ КОНУСУ.
Конструкция и размеры. ГОСТ 16075- 70*.
Телефон для связи : WhatsApp.
1. Конструкция и размеры ввертных тройников должны соответствовать указанным на чертеже и в таблице.

- Отправляйте ваши заявки на изготовление тройники ввертные несимметричные по ГОСТу 16075-70 на электронную почту или звоните по телефону:
- +7 (495) 223-64-73
+7 (495) 726-11-08 - E-mail: air2013@yandex.ru
Материал: штамповки Из стали марок 45, 38ХА, 13Х11Н2В2МФ (1Х12Н2ВМФ).
3. Допуск радиального биения поверхности Б относительно оси резьбы D2 — 0,08 мм.
(Измененная редакция, Изм. №2).
4. Покрытие кадмием (цинком) поверхности Б не допускается.
5. Технические требования — по ГОСТ 16078—70.
Пример условного обозначения ввертного тройника к трубопроводу D„ 16 и
L\ = 70 мм из стали марки 45:
Тройник ввертной 16—70—022 ГОСТ 16075—70;
То же, из стали марки 38ХА:
Тройник ввертной 16—70—021 ГОСТ 16075—70;
То же, из стали марки 13Х11Н2В2МФ:
Тройник ввертной 16—70—011 ГОСТ 16075—70;
То же, для изделий авиационной и общей техники:
Тройник ввертной 16—70—022А ГОСТ 16075—70;
Тройник ввертной 16—70—021А ГОСТ 16075—70;
Тройник ввертной 16—70—011А ГОСТ 16075—70;
Детали
| Вес | 1.5 кг |
|---|---|
| Габариты | 50 × 80 × 50 м |

