Тройник ввертной 38-105-022 ГОСТ 16074-70

3,890.00 

Производство стальных тройников, нестандартные размеры переходных тройников под высокое давление для агрессивных и высокотемпературных сред  сталь 20, 09Г2С, 12Х18Н10Т, 20Х13, 30 ХМА, 15 ХМ, 12Х1МФ.

 

Описание

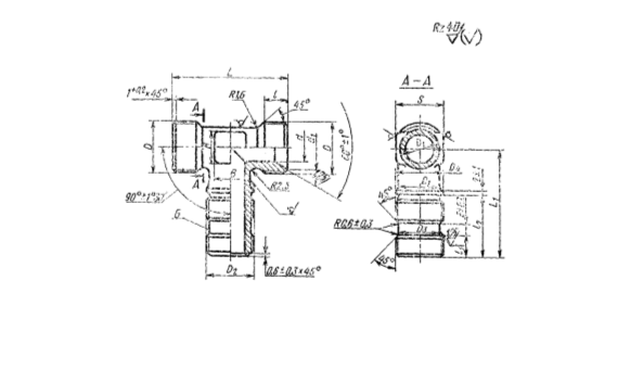
ТРОЙНИКИ ВВЕРТНЫЕ ДЛЯ СОЕДИНЕНИЙ ТРУБОПРОВОДОВ ПО ВНУТРЕННЕМУ КОНУСУ.
Конструкция и размеры. ГОСТ 16074- 70*.
1. Конструкция и размеры ввертных тройников должны соответствовать указанным на чертеже и в таблице.

Телефон для связи : WhatsApp.

ГОСТ 16074- 70

Производство стальных тройников, нестандартные размеры переходных тройников под высокое давление для агрессивных и высокотемпературных сред по сталь 20, 09Г2С, 12Х18Н10Т, 20Х13, 30ХМА, 15ХМ, 12Х1МФ.

+7 (495) 223-64-73
+7 (495) 726-11-08

E-mail: air2013@yandex.ru

2. Материал: штамповки из стали марок 45, 38ХА, 13Х11Н2В2МФ (13Х12Н2ВМФ).
3. Допуск радиального биения поверхности Б относительно оси резьбы Z)2 — 0,08 мм.
4. Покрытие кадмием (цинком) поверхности Б не допускается.
5. Технические требования — по ГОСТ 16078—70.
Пример условного о б о з н а ч е н и я ввертного тройника к трубопроводу D, 16 и
Li = 60 мм из стали марки 45:
Тройник ввертной 16—60—022 ГОСТ 16074—70;
То ж е, из стали марки 38ХА:
Тройник ввертной 16—60— 021 ГОСТ 16074—70;
То ж е, из стали марки 13Х11Н2В2МФ:
Тройник ввертной 16—60— 011 ГОСТ 16074—70;
То ж е, для изделий авиационной и общей техники:
Тройник ввертной 16—60—022А ГОСТ 16074— 70;
Тройник ввертной 16—60—021А ГОСТ 16074— 70;
Тройник ввертной 16—60—011А ГОСТ 16074— 70;

Детали

Вес 2.5 кг
Габариты 60 × 70 × 80 м