4,326.00 ₽
Производство переходных тройников и бесшовных тройников по стандартам ASTM, ASME, DIN, ISO, ANSI и другим зарубежным стандартам. Бесшовные и точеные тройники и угольники с конической резьбой NPT, R, K, UNF, G и т. д. под высокое давление.
Описание
ТРОЙНИКИ ВВЕРТНЫЕ ДЛЯ СОЕДИНЕНИЙ ТРУБОПРОВОДОВ ПО НАРУЖНОМУ КОНУСУ ГОСТ 13971 — 74.
Взамен ГОСТ 13971— 68.
Конструкция и размеры.
Телефон для связи : WhatsApp.
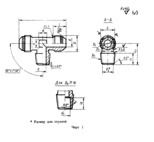
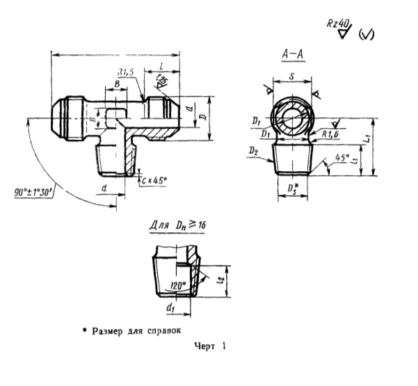
1. Ввертные тройники должны изготовляться двух исполнений.
2. Конструкция и размеры ввертных тройников исполнения 1
должны соответствовать указанным на черт. 1 и в табл. 1.

Отправляйте ваши заявки на ввертные тройники по ГОСТУ 13971-74 на электронную почту или звоните по телефону:
+7 (495) 223-64-73
+7 (495) 726-11-08
E-mail: air2013@yandex.ru.
Пример условного обозначения ввертного тройника исполнения 1 к трубопроводу D„ = 12 мм из алюминиевого
сплава:
Тройник ввертной 1— 12—31А ГОСТ 13971—74;
То же, из стали марки 45:
Тройник ввертной 1—12—22А ГОСТ 13971—74;
То же, из стали марки 12Х18Н9Т:
Тройник ввертной 1—12—13А ГОСТ 13971—74;
То же, из стали марки 13Х11Н2В2МФ:
Тройник ввертной 1—12—11А ГОСТ 13971—74;
То же, из бронзы:
Тройник ввертной 1—12—41А ГОСТ 13971—74;
То же, для изделий общего применения:
Тройник ввертной 1—12—31 ГОСТ 13971—74;
Тройник ввертной 1—12—22 ГОСТ 13971—74;
Тройник ввертной 1—12— 13 ГОСТ 13971—74;
Тройник ввертной 1—12— 11 ГОСТ 13971—74;
Тройник ввертной 1—12—41 ГОСТ 13971—74;
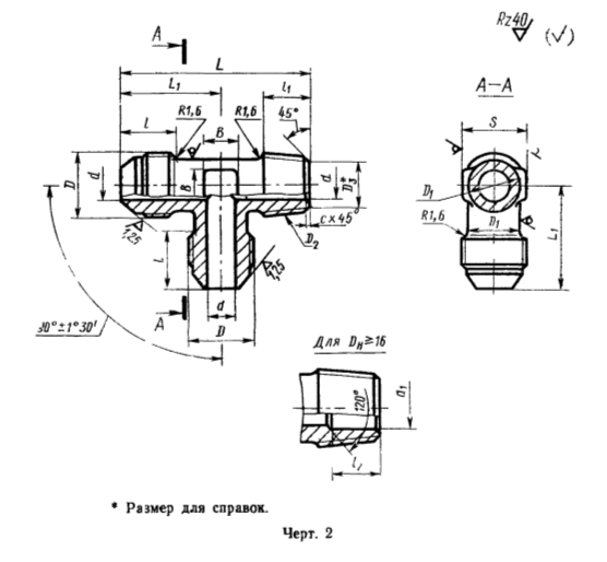
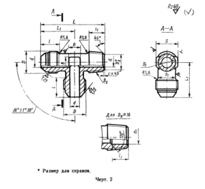
3. Конструкция и размеры ввертных тройников исполнения 2 должны соответствовать указанным на черт. 2 и в табл. 2.
Пример условного сплава:
То же, из стали марки 45:
обозначения ввертного тройника
Тройник ввертной2—12—31А ГОСТ 13971—74;
Тройник ввертной 2—12—22А ГОСТ 13971—74;
То же, из стали марки 12Х18Н9Т:
Тройник ввертной 2—12—13А ГОСТ 13971—74;
То же, из стали марки 13Х11Н2В2МФ:
Тройник ввертной 2—12—11А ГОСТ 13971—74;
То же, из бронзы:
Тройник ввертной 2—12—41А ГОСТ 13971—74;
То же, для изделий общего применения:
Тройник ввертной 2—12—31 ГОСТ 13971—74;
Тройник ввертной 2—12—22 ГОСТ 13971—74;
Тройник ввертной 2—12—13 ГОСТ 13971—74;
Тройник ввертной 2—12— 11 ГОСТ 13971—74;
Тройник ввертной 2—12—41 ГОСТ 13971—74;
4. Резьбовая часть тройников на длине I— по ГОСТ 13955—74.
5. Маркировать и клеймить — по ГОСТ 13977—74.
6. Технические условия — по ГОСТ 13977—74.
Детали
| Вес | 1.3 кг |
|---|---|
| Габариты | 50 × 60 × 40 м |



