Тройник фланцевый 2-3-22А ГОСТ 13966-74

3,678.00 

Наша продукция используется в химической, нефтяной, атомной, энергетической отраслях. Стальные тройники и угольники высокого давления выпускаются с сопроводительной документацией

Описание

ТРОЙНИКИ ФЛАНЦЕВЫЕ ПРОХОДНЫЕ ДЛЯ СОЕДИНЕНИЙ ТРУБОПРОВОДОВ ПО НАРУЖНОМУ КОНУСУ ГОСТ 13966-74.
Конструкция и размеры. ГОСТ 13966—68.

Телефон для связи : WhatsApp.
1. Тройники фланцевые проходные должны изготовляться двух исполнений.
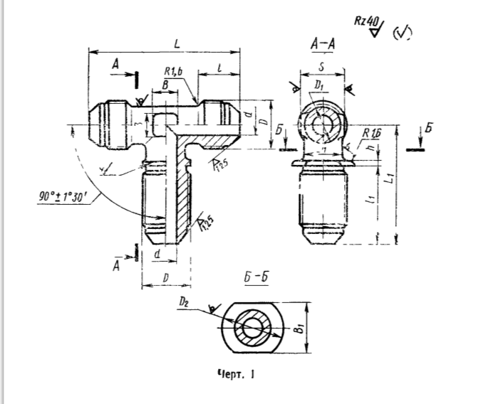
2. Конструкция и размеры фланцевых проходных тройников исполнения 1 должны соответствовать указанным на черт. 1 и в табл. 1.

+7 (495) 223-64-73
+7 (495) 726-11-08

E-mail: air2013@yandex.ru

Пример условного обозначения фланцевого проходного тройника исполнения / к трубопроводу DH = 12 мм из
алюминиевого сплава:
Тройник фланцевый 1—12—31А ГОСТ 13966—74;
То же, из стали марки 45:
Тройник фланцевый 1—12—22А ГОСТ 13966—74;
То же, из стали марки 12Х18Н9Т:
Тройник фланцевый 1—12—13А ГОСТ 13966—74;
То же, из стали марки 13Х11Н2В2МФ:
Тройник фланцевый 1—12—11А ГОСТ 13966—74;
То же, из бронзы:
Тройник фланцевый 1—12—41А ГОСТ 13966—74;
То же, для изделий общего применения:
Тройник фланцевый 1—12—31 ГОСТ 13966’—74;
Тройник фланцевый 1—12—22 ГОСТ 13966—74;
Тройник фланцевый 1—12— 13 ГОСТ 13966—74;
Тройник фланцевый 1—12—11 ГОСТ 13966—74;
Тройник фланцевый 1—12—41 ГОСТ 13966—74;
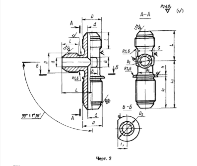
3. Конструкция и размеры фланцевых проходных тройников исполнения 2 должны соответствовать указанным на черт. 2 н в табл. 2.

Пример условного обозначения фланцевого про алюминиевого сплава:
Тройник фланцевый 2—12—31А ГОСТ 13966—74;

входного тройника исполнения 2 к трубопроводу D„ —12 мм из
То же, из стали марки 45:
Тройник фланцевый 2—12—22А ГОСТ 13966—74;
То же, из стали марки I2X18H9T:
Тройник фланцевый 2—12—13А ГОСТ 13966—74;
То же, из стали марки 13Х11Н2В2МФ:
Тройник фланцевый 2—12—11А ГОСТ 13966—74;
То же, из бронзы:
Тройник фланцевый 2—12—41А ГОСТ 13966—74;
То же, для изделий общего применения:
Тройник фланцевый 2—12—31 ГОСТ 13966—74;
Тройник фланцевый 2—12—22 ГОСТ 13966—74;
Тройник фланцевый 2—12—13 ГОСТ 13966—74;
Тройник фланцевый 2—12— 11 ГОСТ 13966—74;
Тройник фланцевый 2—12—41 ГОСТ 13966—74;
4. Резьбовая часть тройнике з — по ГОСТ 13955—74;
5. Маркировать и клеймить — по ГОСТ 13977—74.
6. Технические условия — по ГОСТ 13977—74.

Детали

Габариты 29 × 60 × 56 м