5,494.00 ₽
Производство стальных тройников, нестандартные размеры переходных тройников под высокое давление для агрессивных и высокотемпературных сред.
Описание
ТРОЙНИКИ ФЛАНЦЕВЫЕ ПЕРЕХОДНЫЕ ДЛЯ СОЕДИНЕНИЙ ТРУБОПРОВОДОВ ПО НАРУЖНОМУ КОНУСУ.
Конструкция и размеры. Гост 20192- 74*.
1. Фланцевые переходные тройники должны изготовляться двух исполнений.
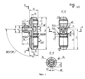
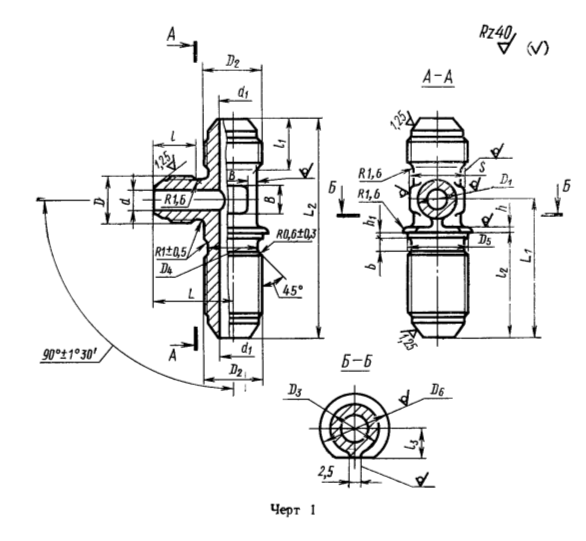
2. Конструкция и размеры фланцевых переходных тройников исполнения 1 должны соответствовать указанным на черт. 1 и в табл. 1.
Телефон для связи : WhatsApp.

Производство стальных тройников, нестандартные размеры переходных тройников под высокое давление для агрессивных и высокотемпературных сред сталь 20, 09Г2С, 12Х18Н10Т, 20Х13, 30 ХМА, 15 ХМ, 12Х1МФ.
+7 (495) 223-64-73
+7 (495) 726-11-08
E-mail: air2013@yandex.ru
Пример условного обозначения фланцевого переходного тройника исполнения 1 к трубопроводам DH = 10 мм н
D1 = 12 мм из алюминиевого сплава:
Тройник фланцевый 1—10—12—31А ГОСТ 20192—74;
То же, из стали марки 45:
Тройник фланцевый 1—10—12—22А ГОСТ 20192—74;
То же, из стали марки 12Х18Н9Т:
Тройник фланцевый 1—10—12—13А ГОСТ 20192—74;
То ж;е, из стали марки 13Х11Н2В2МФ:
Тройник фланцевый 1—10—12—НА ГОСТ 20192—74;
То же, из бронзы:
Тройник фланцевый 1—10—12—41А ГОСТ 20192—74;
То же, для изделий общего применения:
Тройник фланцевый 1—10—12—31 ГОСТ 20192—74;
Тройник фланцевый 1—10—12—22 ГОСТ 20192—74;
Тройник фланцевый 1—10—12—13 ГОСТ 20192—74;
Тройник фланцевый 1—10—12—11 ГОСТ 20192—74;
Тройник фланцевый 1—10—12—41 ГОСТ 20192—74;
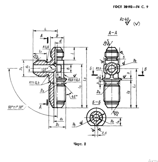
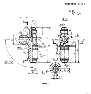
3. Конструкция и размеры фланцевых переходных тройников исполнения.
Пример условного обозначения переходного фланцевого тройника исполнения 2 к трубопроводам DH= 10 мм и D1 = 12 мм из алюминиевого сплава:
Тройник фланцевый 2—10—12—31А ГОСТ 20192—74;
То же, из стали марки 45:
Тройник фланцевый 2—10—12—22А ГОСТ 20192—74;
То же, из стали марки 12Х18Н9Т:
Тройник фланцевый 2—10—12—13А ГОСТ 20192—74;
То же, из стали марки 13Х11Н2В2МФ:
Тройник фланцевый 2—10—12—ПА ГОСТ 20192—74;
То же, из бронзы:
Тройник фланцевый 2—10—12—41А ГОСТ 20192—74;
То же, для изделий общего применения:
Тройник фланцевый 2—10—12—31 ГОСТ 20192—74;
Тройник фланцевый 2—10—12—22 ГОСТ 20192—74;
Тройник фланцевый 2—10—12—13 ГОСТ 20192—74;
Тройник фланцевый 2—10—12—11 ГОСТ 20192—74;
Тройник фланцевый 2—10—12—41 ГОСТ 20192—74;
4. Резьбовая часть тройников — по ГОСТ 13955—74.
5. Маркировать и клеймить — по ГОСТ 13977—74.
6. Технические условия — по ГОСТ 13977—74.
Детали
| Вес | 1.5 кг |
|---|---|
| Габариты | 40 × 80 × 30 м |



