Тройник фланцевый 1-10-31А ГОСТ 20191-74

4,520.00 

Производство переходных тройников и бесшовных тройников по стандартам ASTM, ASME, DIN, ISO, ANSI и другим зарубежным стандартам. Бесшовные и точеные тройники и угольники с конической резьбой NPT, R, K, UNF, G и т. д. под высокое давление.

Артикул: 1-3-88 Категория: Метки: , Бренд:

Описание

ТРОЙНИКИ ФЛАНЦЕВЫЕ ПРОХОДНЫЕ ГЕРМЕТИЗИРУЕМЫЕ ДЛЯ СОЕДИНЕНИЙ.
ТРУБОПРОВОДОВ ПО НАРУЖНОМУ КОНУСУ ГОСТ 20191-74.
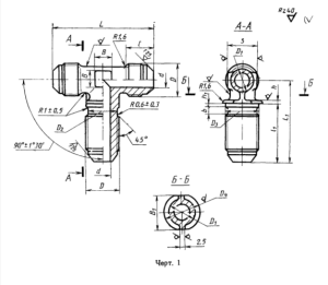
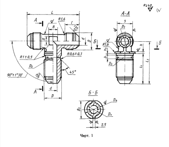
Конструкция и размеры 20191-74.
1. Фланцевые проходные герметизируемые тройники должны изготовляться двух исполнений.
2. Конструкция и размеры фланцевых проходных герметизируемых тройников исполнения 1 должны соответствовать указанным размерам.

Телефон для связи : WhatsApp.

ГОСТ 20191-74

Пример условного обозначения фланцевого проходного герметизируемого тройника исполнения 1 к трубопроводу
D„ = 12 мм из алюминиевого сплава:
Тройник фланцевый 1—12—31А ГОСТ 20191—74;
То же, из стали марки 45:
Тройник фланцевый 1—12—22А ГОСТ 20191— 74;
То же, из стали марки 12Х18Н9Т:
Тройник фланцевый 1—12— 13А ГОСТ 20191—74;
То же, из стали марки 13Х11Н2В2МФ:
Тройник фланцевый 1—12—11А ГОСТ 20191—74;

+7 (495) 223-64-73
+7 (495) 726-11-08

E-mail: air2013@yandex.ruТо же, из бронзы:
Тройник фланцевый 1—12—41А ГОСТ 20191—74;
То же, для изделий общего применения:
Тройник фланцевый 1—12—31 ГОСТ 20191—74;
Тройник фланцевый 1—12—22 ГОСТ 20191—74;
Тройник фланцевый 1—12—13 ГОСТ 20191—74;
Тройник фланцевый 1—12—11 ГОСТ 20191—74;
Тройник фланцевый 1—12—41 ГОСТ 20191—74;
3. Конструкция и размеры фланцевых проходных герметизируемых тройников исполнение 2

4. Резьбовая часть тройников — по ГОСТ 13955—74.
5. Маркировать и клеймить — по ГОСТ 13977—74.
6. Технические условия — по ГОСТ 13977—74.

Детали

Вес 2.5 кг
Габариты 40 × 60 × 50 м