Тройник 1-100×50-100-09Г2С ГОСТ 22801-83

6,700.00 

Производство стальных тройников, нестандартные размеры переходных тройников под высокое давление для агрессивных и высокотемпературных сред сталь 20, 09Г2С, 12Х18Н10Т, 20Х13, 30 ХМА, 15 ХМ, 12Х1МФ.

 

Артикул: 2-190 Категория: Метки: , , Бренд:

Описание

Сборочные единицы и детали трубопроводов. ТРОЙНИКИ ПЕРЕХОДНЫЕ И ПРОХОДНЫЕ. С ФЛАНЦАМИ НА Ру св. 10 до 100 МПа (св. 100 до 1000 кгс/см2).
Конструкция и размеры. ГОСТ 22801—83. Взамен ГОСТ 22801-77.

Телефон для связи : WhatsApp.
1. Настоящий стандарт распространяется на переходные и проходные тройники с резьбовыми фланцами для трубопроводов с линзовым уплотнением, применяемых на предприятиях отраслей нефтехимической промышленности и для производства минеральных удобрений, на Ру св. 10 до 100 МПа (св. 100 до 1000 кгс/см2) Dy D^у от 6X6 до 200X200 мм при температуре среды от минус 50 до плюс 510 °С.

Производство стальных тройников, нестандартные размеры переходных тройников под высокое давление для агрессивных и высокотемпературных сред  сталь 20, 09Г2С, 12Х18Н10Т, 20Х13, 30 ХМА, 15 ХМ, 12Х1МФ.

+7 (495) 223-64-73
+7 (495) 726-11-08

E-mail: air2013@yandex.ru

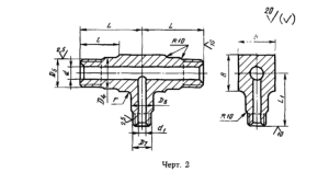
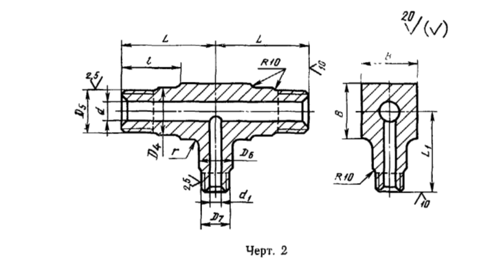
ГОСТ 22801—83
2. Конструкция и размеры тройников должны соответствовать указанным на черт. 1, 2 и в таблице.
3. Присоединительные резьбовые концы — по ГОСТ 9400—81.
4. Технические требования — по ГОСТ 22790—89.

Примечание. Резьбу М135х4 при проектировании новых трубопроводов не применять.
Пример условного обозначения тройника с фланцами исполнения 4, Dy 65 мм и Dy 40 мм, на условное давление Ру 100 МПа согласно  ГОСТ 22700—89, из стали марки 20ХЗМВФ:
Тройник 4—65X40—100—20ХЗМВФ—ГОСТ 22801—83.

Детали

Вес 4 кг
Габариты 60 × 120 × 100 м