Угольники (фитинги) для соединений трубопроводов по наружному конусу. Они используются для обеспечения надежных соединений в трубопроводных системах. Стандарты делятся на ГОСТ (государственные стандарты), ОСТ (отраслевые стандарты) и Нормаль (конструкторские нормы), некоторые из которых предназначены для высокотемпературных или герметичных применений.
Телефон для связи : WhatsApp.

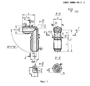
ГОСТ 13963-74 и ГОСТ 13970-74 устанавливают стандарты для угольников, используемых в соединениях трубопроводов по наружному конусу. Краткое описание:
- ГОСТ 13963-74: Регламентирует требования к фланцевым проходным угольникам, включая их конструкцию, размеры, материалы и технические характеристики для обеспечения герметичности и прочности соединений в трубопроводах.
- ГОСТ 13970-74: Определяет стандарты для ввертных угольников, используемых в аналогичных системах, с акцентом на их резьбовые соединения, размеры и совместимость.
- Отправляйте ваши заявки на угольники на электронную почту или звоните по телефону:
- +7 (495) 223-64-73
 +7 (495) 726-11-08
- E-mail: air2013@yandex.ru
По желанию заказчика доставка нашей продукции может осуществляться транспортными компаниями:
- «Первая экспедиционная компания»;
- «Автотрейдинг»;
- «Деловые линии».
Наш адрес: г. Москва, ул. Дубнинская д.79 офис 25/2, 2 этаж (метро Петровско-Разумовская)
