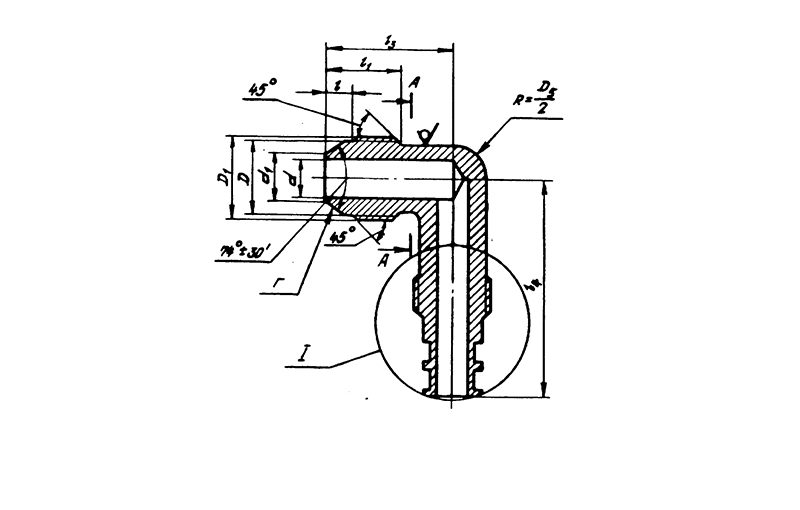
Перечень стандартов (ОСТ) на различные типы угольников (проходные, фланцевые, ввертные, с обжимными гайками и общие). Стандарты относятся к авиационной и машиностроительной отрасли, так как ОСТ (Отраслевой стандарт) часто используется в этих сферах.
Телефон для связи : WhatsApp.
+7 (495) 223-64-73
+7 (495) 726-11-08
E-mail: air2013@yandex.ru
1. Угольники проходные.
Это соединительные элементы трубопроводов, обеспечивающие поворот потока на определённый угол (обычно 90°). Указанные стандарты:
- ОСТ 1 10321-72, ОСТ 1 10356-72, ОСТ 1 10383-71, ОСТ 1 10384-71, ОСТ 1 10405-71, ОСТ 1 10406-71, ОСТ 1 12413-76, ОСТ 1 12414-76, ОСТ 1 12415-76, ОСТ 1 13871-81, ОСТ 1 13872-81, ОСТ 1 13873-81, ОСТ 1 13874-81, ОСТ 1 14030-88, ОСТ 1 14031-88, ОСТ 1 14032-88, ОСТ 1 14033-88, ОСТ 1 14034-88, ОСТ 1 14035-88, ОСТ 1 14036-88, ОСТ 1 14578-88, ОСТ 1 14579-88, ОСТ 1 14788-92
- Эти стандарты описывают конструктивные особенности, размеры, материалы и технические требования для угольников проходного типа, применяемых в различных системах (например, гидравлических, топливных или пневматических).
2. Угольники фланцевые.
Фланцевые угольники используются для соединения трубопроводов с помощью фланцев, обеспечивая герметичность и надёжность соединения.
- ОСТ 1 10322-72, ОСТ 1 10357-72, ОСТ 1 10358-72 (с углом 135°), ОСТ 1 10359-72 (герметизируемые), ОСТ 1 10360-72 (с углом 135°, герметизируемые)
- Особенность: угольники с углом 135° и герметизируемые варианты предназначены для специфических условий эксплуатации, где требуется повышенная надёжность.
3. Угольники ввертные.
Эти угольники ввинчиваются в резьбовые отверстия, обеспечивая соединение трубопроводов.
- ОСТ 1 10334-72, ОСТ 1 10335-72 (проходные), ОСТ 1 10336-72 (переходные), ОСТ 1 10374-72, ОСТ 1 10375-72 (с углом 135°)
- Проходные угольники обеспечивают непрерывный поток, а переходные — соединение труб разного диаметра. Угол 135° встречается реже и используется в специальных конструкциях.
4. Угольники с обжимными гайками.
Применяются для соединений, где требуется разъёмное соединение с обжимной фиксацией.
- ОСТ 1 13842-81, ОСТ 1 13843-81, ОСТ 1 13844-81, ОСТ 1 14880-95, ОСТ 1 14887-95
- Эти стандарты описывают угольники с обжимными гайками, которые обеспечивают удобство монтажа и демонтажа.
5. Общие угольники.
- ОСТ 1 12993-2003 (указан дважды, возможно, разные конфигурации или редакции)
- Этот стандарт охватывает универсальные угольники или общие требования к их конструкции и применению.
