Тройники: Компоненты трубопроводов, соединяющие три трубы, позволяя потоку жидкости или газа распределяться в нескольких направлениях. Они могут быть:
- Проходные: Одинаковый диаметр для всех соединений.
- Переходные: Разные диаметры соединений.
- Фланцевые: С фланцевыми соединениями для надежного крепления.
- Ввертные: С резьбой для ввинчивания в трубопровод.
- Припайные: Соединение пайкой.
- С обжимными гайками: Съемные соединения с обжимными гайками.
- Герметизируемые: С улучшенной герметичностью.
- В сборе: Поставляются в собранном виде для конкретных применений.
- Несимметричные: Нестандартная конструкция для специальных конфигураций.
- Телефон для связи : WhatsApp.

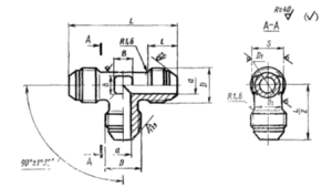
- Проходные тройники:
- ГОСТ 13964-74: Стандарт на проходные тройники для соединений трубопроводов по наружному конусу.
- ОСТ 1 10323-72, 10361-72, 10385-71, 10386-71, 10387-71, 10388-71, 10407-71, 10408-71, 10409-71, 10410-71, 12955-77, 12956-77, 12957-77, 13883-81, 13884-81, 13885-81, 13886-81, 14687-90: Различные отраслевые стандарты на проходные тройники, отличающиеся конструкцией, материалами или применением (например, в авиации).
- ОСТ 1 13853-81, 13854-81, 13855-81, 13856-81: Проходные тройники с обжимными гайками для надежных съемных соединений.
- Нормаль 5710А: Вероятно, специфический норматив на проходные тройники (детали недоступны без текста стандарта).
- Производство стальных тройников, нестандартные размеры переходных тройников под высокое давление для агрессивных и высокотемпературных сред по геометрии ГОСТа 17376 сталь 20, 09Г2С, 12Х18Н10Т, 20Х13, 30 ХМА, 15 ХМ, 12Х1МФ.
+7 (495) 223-64-73
+7 (495) 726-11-08E-mail: air2013@yandex.ru