Детали размеров и материалов.
Эти документы были разработаны в 1978 году для трубопроводов в авиации и содержат специфические требования к конструкциям, включая чертежи и таблицы размеров. На основе анализа доступных описаний аналогичных стандартов ОСТ 1 (для соединений трубопроводов в авиации).
Телефон для связи : WhatsApp.
Общие характеристики стандартов.
- Назначение: Припайные тройники (проходные и угловые) предназначены для создания постоянных герметичных соединений в высоконагруженных трубопроводах авиационной техники (топливные, гидравлические, масляные системы). Они обеспечивают герметичность под давлением до 10–20 МПа и температурами от -60°C до +200°C (в зависимости от материала).
- Конструкция: Тройники имеют форму «T» с пайкой по внутреннему или внешнему конусу. Различия между ОСТ 1 13083-78 (вероятно, проходные тройники) и ОСТ 1 13084-78 (угловые или переходные) — в ориентации ветвей (прямая vs. перпендикулярная).
- Технология: Пайка мягким припоем (олово-свинцовые или серебряные припои) или твердой (для высокотемпературных применений). Требования к пайке по ОСТ 1 00021-78 (термообработка).
- +7 (495) 223-64-73
+7 (495) 726-11-08 - E-mail: air2013@yandex.ru
Материалы.
Материалы для припайных тройников по этим ОСТ определяются условиями эксплуатации (коррозионная стойкость, прочность, вес). Основные:
- Коррозионностойкие стали: 12Х18Н10Т (аналог AISI 321), 08Х18Н10Т — для сред с агрессивными жидкостями (топливо, масла).
- Углеродистые и низколегированные стали: Сталь 20, 30, 45 — для общих применений.
- Титановые сплавы: ВТ3-1, ВТ5-1 — для легковесных конструкций в агрессивных средах (отжиг по группе контроля 5 ОСТ 1 00021-78).
- Припои: ПОС-61 (олово-свинец), ЦАП-1 (цинк-алюминий) или серебряные для высоконагруженных соединений.
Термообработка: Отжиг или нормализация для стали; отпуск для титана. Неуказанные отклонения — по ОСТ 1 41187-78 (класс точности 5).
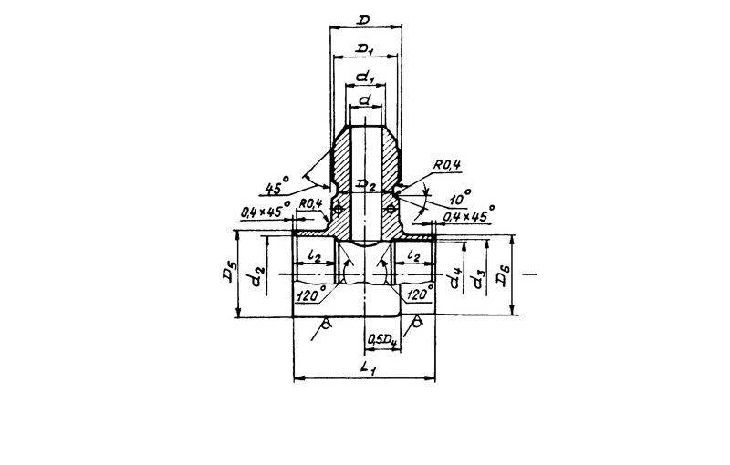
Размеры.
Размеры привязаны к диаметрам трубопроводов (Dн — наружный диаметр трубы). Стандарты охватывают малые и средние типоразмеры для авиации (от 4 мм до 50 мм). Ниже приведена типовая таблица размеров на основе аналогичных ОСТ 1 (например, ОСТ 1 10385-71 для проходных тройников и ОСТ 1 13678-80 для ввертных — близкие по конструкции). Для припайных тройников длина L (от торца до оси) и диаметр резьбы/конуса адаптированы под пайку.
| Условный проход (Dн, мм) | Диаметр резьбы/конуса (D, мм) | Длина ветви (L, мм) | Толщина стенки (S, мм) | Масса (г, ориентир) |
|---|---|---|---|---|
| 4 | M8×1 | 35–40 | 0.8–1.0 | 10–15 |
| 6 | M10×1 | 40–45 | 1.0–1.2 | 15–20 |
| 8 | M12×1.25 | 45–50 | 1.0–1.5 | 20–25 |
| 10 | M14×1.5 | 50–55 | 1.2–1.5 | 25–30 |
| 12 | M16×1.5 | 55–60 | 1.5–2.0 | 30–40 |
| 15 | M18×1.5 | 60–65 | 1.5–2.0 | 40–50 |
| 20 | M20×1.5 | 65–70 | 2.0–2.5 | 50–60 |
| 25 | M22×1.5 | 70–75 | 2.0–2.5 | 60–70 |
| 32 | M27×2 | 75–80 | 2.5–3.0 | 70–80 |
| 38 | M30×2 | 80–85 | 2.5–3.0 | 80–90 |
| 50 | M36×2 | 85–90 | 3.0–3.5 | 90–100 |
- Примечания к размерам:
- Предельные отклонения: ±0.1 мм для обработанных поверхностей; по ОСТ 1 41187-78 для необработанных.
- Угол ветви: 90° для угловых тройников (ОСТ 1 13084-78); 180° для проходных (ОСТ 1 13083-78).
- Обозначение: Например, «Тройник припайной ОСТ 1 13083-78 Dн=12 мм, сталь 12Х18Н10Т».
- Масса — ориентировочная, зависит от материала (титан легче на 40–50%).
Применение и особенности.
- Эти тройники используются в системах самолётов и вертолётов (например, Ан-, МиГ-, Су-серии) для разветвления труб без разъёмов.
- Тестирование: Герметичность по давлению (1.5×рабочее), коррозия по ОСТ 1 00007-78.
