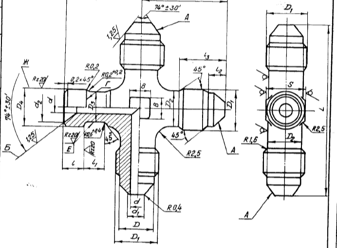
Крестовины с обжимными гайками

ОСТ 1 138xx-81: Крестовины с обжимными гайками и проходные.

Стандарты 1981 г. для современных гидравлических систем с обжимными гайками (для быстрого обжима труб без сварки). Диаметры 6–22 мм, давление до 250 бар.

  • ОСТ 1 13861-81 — 1 13864-81: Крестовины проходные с обжимными гайками. Четыре варианта по размерам и исполнениям. Обеспечивают разветвление с обжимом.
  • ОСТ 1 13891-81 — 1 13894-81: Крестовины проходные. Без гаек, для фиксированных соединений. Вариации по диаметрам.
Телефон для связи : WhatsApp.
Стандарт Тип Диаметры (мм) Давление (бар) Материалы
ОСТ 1 13861-81 — 1 13864-81 Проходная с гайками 6–22 До 250 Сталь, нержавейка
ОСТ 1 13891-81 — 1 13894-81 Проходная 8–20 До 200 Алюминий, бронза

Высылайте ваши заявки на электронную почту. Обязательно указывайте количество, тип переходной или обычной стальной крестовины с ее размерами.

+7 (495) 223-64-73
+7 (495) 726-11-08

E-mail: air2013@yandex.ru

 Стандарты формируют основу для производства надежных крестовин в трубопроводных системах. ГОСТы обеспечивают универсальность, ОСТ — специализацию для авиации и гидравлики. Сегодня многие из них заменены или гармонизированы с международными (ISO, DIN), но остаются актуальными в РФ и СНГ для ретрофита и производства. Для детального проектирования рекомендуется обращаться к оригинальным текстам стандартов . Эти фитинги продолжают играть ключевую роль в обеспечении безопасности и эффективности промышленных систем.