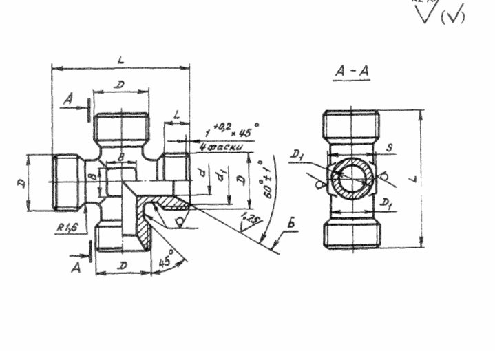
ОСТ 1 103xx-72: Крестовины для авиационной гидравлики по конусу.
ОСТ 1 10328-72 — 1 10371-72 — отраслевые стандарты Министерства авиационной промышленности СССР, ориентированные на высокоточные соединения в авиатехнике. Они распространяются на крестовины для трубопроводов по наружному конусу, с акцентом на легкие сплавы (ВТ3-1, ВТ6) для снижения веса. Диаметры: 1–22 мм. Конструкция включает резьбовые соединения и конусы для обжима.
- Телефон для связи : WhatsApp.
- ОСТ 1 10328-72: Крестовины проходные. Равнопроходные, для равных диаметров. Код для сплавов (например, 1 для ВТ6). Пример обозначения: Крестовина проходная 12-1-ОСТ 1 10328-72.
- ОСТ 1 10329-72: Крестовины переходные. Для переходов диаметров, с вариантами исполнения. Пример: 3-12-ОСТ 1 10329-72 (из ВТ6).
- ОСТ 1 10368-72: Крестовины проходные. Аналогично 10328-72, но с уточнениями по размерам для специфических систем.
- ОСТ 1 10369-72: Крестовины переходные. По внутреннему конусу, для высоконагруженных соединений. Переходы 8-12 мм и т.д.
- ОСТ 1 10370-72: Крестовины переходные несимметричные. Несимметричная конфигурация для неравных боковых ветвей.
- ОСТ 1 10371-72: Крестовины переходные с диаметром резьбы 14 мм на одном штуцере. Специализированные, с резьбой M14x1 для крепления.
Высылайте ваши заявки на электронную почту. Обязательно указывайте количество, тип переходной или обычной стальной крестовины с ее размерами.
+7 (495) 223-64-73
+7 (495) 726-11-08
E-mail: air2013@yandex.ru
| Стандарт | Тип | Особенности | Диаметры (мм) | Материалы |
|---|---|---|---|---|
| ОСТ 1 10328-72 | Проходная | Равные, внеш. конус | 1–22 | ВТ6, сталь |
| ОСТ 1 10329-72 | Переходная | Переходы, внеш. конус | 1–22 | ВТ3-1 |
| ОСТ 1 10369-72 | Переходная | Внутр. конус | 8–22 | Коррозионностойкие |
| ОСТ 1 10370-72 | Переходная | Несимметричная | Варьируется | Авиационные сплавы |
| ОСТ 1 10371-72 | Переходная | Резьба 14 мм | 1–14 | Сталь 12Х18Н10Т |