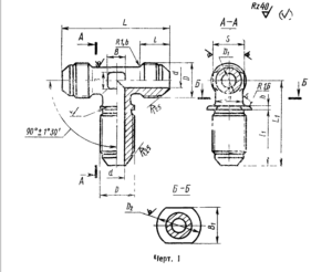
- ГОСТ 13966-74 (Исполнения 1–2): Регулирует фланцевые проходные тройники для соединений по наружному конусу. Эти тройники используются для надежного соединения трубопроводов, обеспечивая герметичность при высоком давлении.
- +7 (495) 223-64-73
+7 (495) 726-11-08 - E-mail: air2013@yandex.ru
-

ГОСТ 13966-74 - ОСТ 1 10325-72, 10326-72, 10327-72, 10364-72, 10365-72, 10366-72, 10367-72: Эти отраслевые стандарты описывают различные типы фланцевых тройников, включая:
- Проходные (для прямого соединения труб одинакового диаметра).
- Переходные (для соединения труб разного диаметра).
- Герметизируемые (с уплотнениями для повышенной герметичности).
- Несимметричные (для специальных конфигураций трубопроводов).
- Телефон для связи : WhatsApp.