Открытая 3-осевая микроманипуляционная платформа Micro Manipulator Stepper — прорыв или хобби-игрушка?
Представлена открытая платформа Open Micro Manipulator — низкозатратный 3-осевой микроманипулятор с субмикронной точностью.
ПодробнееСравнение AN и JIC фитингов
AN (Army-Navy) и JIC (Joint Industry Council) фитинги — это два популярных типа гидравлических и топливных соединителей с 37-градусным конусом,...
ПодробнееПрецизионная ЧПУ-обработка металлов
Прецизионная ЧПУ-обработка — ключевой элемент современной промышленности, обеспечивающий производство сложных деталей для аэрокосмической, автомобильной, оборонной и электронной отраслей.
ПодробнееАналоги в международных стандартах для нормалей
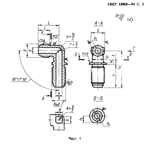
Угольники типа А по советским/российским отраслевым нормалям (ОСТ или авиационным нормалям вроде 2732А–2735А и 2800А–2803А) предназначены для высоконагруженных гидравлических и...
ПодробнееСтандарты для тройников трубопроводов
Тройники используются для разветвления или слияния потоков в трубопроводных системах, обеспечивая надежные соединения в отраслях вроде нефтегазовой, химической, энергетической и...
ПодробнееБезопасность токарных работ
Токарные работы являются фундаментальным процессом в металлообработке, позволяющим создавать детали путем вращения заготовки и удаления материала инструментом.
ПодробнееФрактальные тиски
Фрактальные тиски основаны на многоуровневой структуре захватов, напоминающей фракталы — самоподобные фигуры, где каждый элемент повторяет общую форму в меньшем...
ПодробнееЗарубежные авиационные стандарты NAS, AN, MS, ISO и DIN
Основные стандарты, связанные с авиационными нормалями, включая NAS, AN, MS, ISO и DIN.
ПодробнееСоответствие нормалей ОСТ 1
В мире авиационного машиностроения стандарты — это не просто бюрократические формальности, а фундамент надежности и безопасности.
ПодробнееISO 8434-1 в аэрокосмической отрасли
Стандарт ISO 8434-1 описывает компрессионные фитинги с врезным кольцом (bite-type) и 24° коническим уплотнением, которые находят применение в аэрокосмической отрасли...
Подробнее








